
■ H44W/Y不锈钢法兰式止回阀产品概述:
不锈钢法兰式止回阀,不锈钢旋启式止回阀,不锈钢硬密封止回阀
H44W/Y不锈钢旋启式止回阀适用于压力1.6~6.4MPa工作温度-29~+550℃的石油、化工、制药、化肥、电力行业等各种工况的管路上,适用介质为水、油品、蒸汽、酸性介质等。
■ H44W/Y不锈钢法兰式止回阀产品特点:
1、采用内装摇臂旋启式结构,所有启闭件都装于阀体内部,不穿透阀体;
2、摇臂和阀瓣连接处采用球面连接的结构,使得阀瓣在360℃范围内有一定的自由度,有适当的微量位置补偿;
3、阀门密封副的密封面堆焊合金钢(13Cr)或硬质合金Stellite6,即使用在有细粒的介质中亦不会因冲蚀而很快磨损。
■ H44W/Y不锈钢法兰式止回阀性能参数:
|
型号 |
H44H-16~64P/R |
H44Y-16~64P/R |
|
|
工作压力(MPa) |
1.6~6.4 |
||
|
适用温度(℃) |
≤200 |
||
|
适用介质 |
弱腐蚀性介质 |
||
|
材料 |
阀体、阀盖、阀瓣 |
铬镍钛不锈钢 |
|
|
密封面 |
本体密封 |
硬质合金 |
|
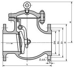
■ H44W/Y不锈钢法兰式止回阀连接尺寸图:

|
公称通径 DN |
主要外形尺寸和连接尺寸 |
||||||
|
L |
D |
D1 |
D2 |
b |
Z-d |
H |
|
|
H44W-16P H44W-16R |
|||||||
|
25 |
160 |
115 |
85 |
65 |
16 |
4-14 |
100 |
|
32 |
180 |
135 |
100 |
78 |
16 |
4-18 |
105 |
|
40 |
200 |
145 |
100 |
85 |
16 |
4-18 |
115 |
|
50 |
230 |
160 |
125 |
100 |
16 |
4-18 |
135 |
|
65 |
290 |
180 |
145 |
120 |
18 |
4-18 |
142 |
|
80 |
310 |
195 |
160 |
135 |
20 |
8-18 |
165 |
|
100 |
350 |
215 |
180 |
155 |
20 |
8-18 |
180 |
|
125 |
400 |
245 |
210 |
185 |
22 |
8-18 |
210 |
|
150 |
480 |
280 |
240 |
210 |
24 |
8-23 |
233 |
|
200 |
500 |
335 |
295 |
265 |
26 |
12-23 |
304 |
|
250 |
550 |
405 |
355 |
320 |
30 |
12-25 |
348 |
|
300 |
650 |
460 |
410 |
375 |
30 |
12-25 |
390 |
|
350 |
750 |
520 |
470 |
435 |
34 |
16-25 |
430 |
|
400 |
850 |
580 |
525 |
485 |
36 |
16-30 |
468 |
|
H44W-25P H44W-25R |
|||||||
|
25 |
160 |
115 |
85 |
65 |
16 |
4-14 |
100 |
|
32 |
180 |
135 |
100 |
78 |
16 |
4-18 |
105 |
|
40 |
200 |
145 |
110 |
85 |
16 |
4-18 |
115 |
|
50 |
230 |
160 |
125 |
100 |
20 |
4-18 |
160 |
|
65 |
290 |
180 |
145 |
120 |
22 |
8-18 |
175 |
|
80 |
310 |
195 |
160 |
135 |
22 |
8-18 |
185 |
|
100 |
350 |
230 |
190 |
160 |
24 |
8-23 |
220 |
|
125 |
400 |
270 |
220 |
188 |
28 |
8-25 |
248 |
|
150 |
480 |
300 |
250 |
218 |
30 |
8-25 |
276 |
|
200 |
550 |
360 |
310 |
278 |
34 |
12-25 |
350 |
|
250 |
650 |
425 |
370 |
332 |
36 |
12-30 |
410 |
|
300 |
750 |
485 |
430 |
390 |
40 |
16-30 |
430 |
|
350 |
850 |
550 |
490 |
448 |
44 |
16-34 |
518 |
|
400 |
950 |
610 |
550 |
505 |
48 |
16-34 |
560 |
■ H44W/Y不锈钢法兰式止回阀安装与使用:
1、抽汽止回阀垂直安装在水平管道上,使用是一般处于全开状态。
2、安装前应先进行以下工作
A、卸掉阀门通道两端的闷盖和泡沫板,清洁内腔,去除油垢;
B、剥去阀瓣表面上的油纸,去除阀瓣面上的油垢;
3、安装时介质的流向必须限制。
4、通过管路的介质不应带有硬质颗粒,以免损伤密封面
5、该阀门出厂前以逐台进行检验和试验合格,安装单位可直接压力试验或安装使用。