浙江中耐泵业有限公司
客服:0577-66998225
传真:0577-66998228
地址:浙江省永嘉县瓯北镇三桥工业区
XD型单级旋片式真空泵
产品型号:XD型
所属类目:真空泵
产品简介:XD型单级旋片式真空泵应用于各类食品的真空包装、橡胶和塑料工业的真空吸塑成型、印刷工业的纸张输送、各类铸件的真空浸渍防漏、真空夹具、真空干燥、真空过滤、真空动力试验以及医院手术室的真空吸引等在本型泵所能达到的真空范围内的各种真空处理
■ XD型单级旋片式真空泵产品概述:

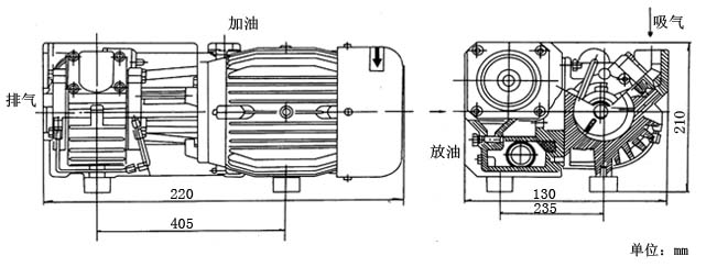
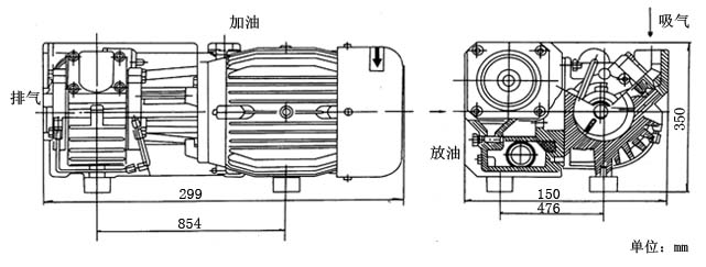
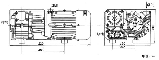
1、XD型旋片式真空泵均为单级油封式旋片真空泵,是获得真空的基本设备,工作原理如图1所示。
2、XD型旋片式真空泵吸气口安装有金属丝网的粗过滤器。能防止固体的外来尘粒吸入泵腔。油分离器内安装有高效油气分离效果的排气过渡器。停泵时,内置于吸气口的吸气阀使泵与被抽系统隔离,防止泵油返入被抽系统。泵由空气冷却。所有的泵均由直联的电动机通过弹性联轴器驱动。
■ XD型单级旋片式真空泵型号意义:
■ XD型单级旋片式真空泵产品特点:
1、XD型单级旋片式真空泵可以在任意入口压强下工作,大的特点。
2、在XD型单级旋片式真空泵的内部装有油雾消除器,能有效地消除泵排出的气体中的油雾,避免油雾对周围环境的污染。
3、在XD型单级旋片式真空泵的吸气口装有逆止阀,当泵停止时逆止阀与泵内专门设置的孔的联合作用下,可以立即使泵与被抽系统隔离,防止泵油返入被抽系统,同时保持了被抽容器的真宽度,因而使用本型真空泵洋就可以不需要再配置带有放气的真空截止阀,从而可以减少用户的使用费用。
4、XD型单级旋片式真空泵配有油气分离器,它与油雾消除器一起组成了有效的消音系统,能消除排气噪音,避免噪音污染。
5、XD型单级旋片式真空泵和电动机直接联接安装,采用空气冷却,不需水冷却管道,因此本型是一种结构紧凑,安装简便的设备。
6、结构设计合理,振动小,不用地脚螺栓即可工作。
■ XD型单级旋片式真空泵使用条件:
环境温度: ≤40℃ (度)
抽气速率: 10~250m3/h (立方/小时)
极限压强: ≤2*10-2Pa (帕)
极限真空: ≤200Pa (帕)
气体类型: 常温无其它混合物的空气
工作要求: 在6650pa到大气压的进口压强下的连续工作时间
工作要求: 进口压强小于1330pa的条件下,允许长时期连续工作
1、XD型单级旋片式真空泵适用于密闭系统的抽真空使用。如真空包装、真空成形、真空吸引。
2、入口压力范围:100Pa~100000 Pa,超出此范围工作真空泵排气口将有油雾产生。XD型旋片式真空泵工作环境温度和吸入气体温度应在5℃~40℃之间。
3、XD型单级旋片式真空泵不能抽除水或其它液体。不能抽除易爆、易燃、含氧量过高的、腐蚀性的气体。
4、一般供应的电动机不防爆,如要求防爆或其它特殊要求时电动机必须符合相关的标准。
■ XD型单级旋片式真空泵结构图:
■ XD型单级旋片式真空泵产品用途:
XD型单级旋片式真空泵较之一般旋片式真空泵具有更为广泛的使用范围,目前这种泵已普遍应用于各类食品的真空包装、橡胶和塑料工业的真空吸塑成型、印刷工业的纸张输送、各类铸件的真空浸渍防漏、真空夹具、真空干燥、真空过滤、真空动力试验以及医院手术室的真空吸引等在本型泵所能达到的真空范围内的各种真空处理。
■ XD型单级旋片式真空泵性能参数:
|
型号及参数 |
XD-010 |
XD-016 |
XD-020 |
XD-025 |
XD-040 |
XD-063 |
XD-100 |
XD-160 |
XD-250 |
|
抽气速率(m3/h) |
10 |
16 |
20 |
25 |
40 |
63 |
100 |
160 |
250 |
|
权限压力(Pa) |
2ⅹ102 |
||||||||
|
时机功率(kw) |
0.37 |
0.37 |
0.75 |
0.75 |
1.1 |
1.5 |
3 |
4 |
7.5 |
|
泵转速(转/分) |
1440 |
1440 |
2800 |
2800 |
1440 |
1440 |
1440 |
1440 |
1440 |
|
装油量(L) |
0.5 |
0.5 |
0.5 |
1 |
1.5 |
2 |
4 |
9 |
9 |
|
吸气口尺寸 |
G½ |
G½ |
G½ |
G1¼ |
G1¼ |
G1¼ |
G1¼ |
G2 |
G2½ |
|
泵重量(kg) |
16 |
18 |
19 |
19 |
60 |
22 |
115 |
145 |
200 |
|
电压(V) |
380/220 |
380/220 |
380/220 |
380/220 |
380/220 |
380 |
380 |
380 |
380 |
■ XD型单级旋片式真空泵维护:
1、XD型单级旋片式真空泵的真空泵油
XD型单级旋片式真空泵一般应使用符合SH0528-92标准规定的真空泵油。环境温度在10℃~40℃时ISO~VG100粘度等级的XD旋片式真空泵油。环境温度在0℃~10℃时使用ISO~VG32粘度等级的真空泵油。真空泵运转时必须保证油位在油窗高度的1/2-4/5处。应经常检查油位和油的污染情况(建议每周一次)。如油位过低应停XD旋片式真空泵加入合适的真空泵油至油窗高度的4/5处。如果油被污染油将发黑、乳化、变稠、应及时换油。
2、XD型单级旋片式真空泵的更换真空泵油及油过滤器
建议泵第一次工作满150小时后换油。以后每工作500小时换油。换油同时,应更换油过滤器。如果油受污染发黑、乳化、变稠应及时换油。并在加入新油之前清洗泵。
清洗,换油步骤:
1、停XD型旋片式真空泵将热油放掉。
2、旋上放油塞运转5~10秒。
3、将油放尽。
4、注入清洗用油(32号普通机械油)到油窗高度的3/4处。
5、运转XD型旋片式真空泵5~10分钟。
6、停泵,将油放掉。如油尚不能达到要求,重复4、5步骤。
7、旋上放油塞运转5~10钞。
8、将油放尽。
9、注入规定的新真空泵油。
3、XD型单级旋片式真空泵的更换排气过滤器
如果泵温明显升高、电动机电流达到或超过额定电流,泵排气口有油烟产生,则应检查排气过滤器是否堵塞,如堵塞,应及时更换。可在泵加油孔处安装排气压力表,检查过滤器是否堵塞。当压力超过0.6bar(表压力)时更换排气过滤器。
4、XD型旋片式真空泵的清洗吸气过滤网
吸气滤网应保持清洁,以免抽速下降。
5、XD型单级旋片式真空泵的贮藏
如果泵长期搁置不用,应将油放尽并清洗泵,然后注入规定的新油放置在干燥场所。
6、XD型单级旋片式真空泵其它
A.用户如需订购维修备件,请告知XD旋片式真空泵的型号和机号。泵的型号和机号可在泵的铭牌上找到。
B.因有些维护修理工作需要一定的专业知识,设备和专用工具,详情请与制造厂联系。
C.泵搬运中应确保无油。不能撞击油管,油过滤器等物。






